Spiel in der Lenkung - wie viel ist normal? (BMW-E24-Forum)

Go4Gold, München, (vor 1045 Tagen)

Hi zusammen,

wie in einem anderen Thread diskutiert, habe ich mich ja eine ganze Weile mit Lenkrad-Flattern beim leichten Bremsen aus 100-110km/h rumgeschlagen, neue Druckstreben verbaut, Bremsscheiben vermessen, neue Tonnenlager, Spur vermessen, usw...

Am Ende lag es nun denke ich an einem Bremssattel, da hier die Manschette des Kolbens nicht mehr richtig saß und dadurch vermutlich der Kolben nicht mehr sauber hin- und herlief. Zumindest ist das Flattern seit dem Tausch der vorderen Sattel nun deutlich besser bzw bei 100km/h und leichtem Bremsen nicht mehr feststellbar. Bei höheren Geschwindigkeiten (zB 150km/h) und stärkerem Bremsen habe ich allerdings immer noch ein leichtes Flattern der Lenkung.
Uns ist auf der Hebebühne dann noch ein "Klacken" in der Lenkung aufgefallen - wenn man an einem der ausgefederten Vorderrädern kräftig nackelt, es klingt auf der Aufnahme schlimmer als in Wirklichkeit, aber zumindest ist es somit gut hörbar:

https://www.youtube.com/watch?v=-AWAGBKTl9A

https://www.youtube.com/shorts/aVexdN6K2Ok

Kann man anhand der Videos beurteilen, dass das zu viel Spiel ist? Wenn ja, könnte das doch ein plausibler Grund für das Lenkrad-Flattern sein, oder? Und ebenfalls wenn ja, kann man bei der Lenkung des E24 die Vorspannung im Getriebe erhöhen und somit das Spiel reduzieren? Ich kenne es nur von meinem alten 65er Mustang, da hatte ich ebenfalls zu viel Spiel und nach dem (nur sehr leichten) erhöhen der Vorspannung war es perfekt (Rückstellkräfte & Co haben auch noch gepasst).

Viele Grüße, Daniel

--
635CSI, Bj 85, Schweiz-Import

Eintrag gesperrt
529 Views

Spiel in der Lenkung - wie viel ist normal?

peterm635csi, Essen, (vor 1045 Tagen) @ Go4Gold

;-)
Ich würde Mal sagen,das Lenkgetriebe ausbauen und einem
Fachbetrieb für Lenkgetriebe, zum überholen schicken.
Alles andere ist Topf schlagen im Minenfeld.:-D

Peter

--
Wer schneller fährt kommt früher an .

M 635 CSi,Erstzulassung Oktober 1984, Alpinweiß 146

650CSi ,BJ .2010 ,Alpinweiß 300.

530i,BJ.2018, Mineralweiß

640i,BJ.2013,Alpinweiß 300

Eintrag gesperrt
485 Views

Spiel in der Lenkung - wie viel ist normal?

Go4Gold, München, (vor 1044 Tagen) @ peterm635csi

Ja? Also wie gesagt, bei meinem alten Mustang konnte ich das problemlos selbst beheben. Ist das beim E24 so anders bzw. kompliziert?

Und wer wär denn ein Spezialist dafür?

--
635CSI, Bj 85, Schweiz-Import

Eintrag gesperrt
428 Views

Spiel in der Lenkung - wie viel ist normal?

peterm635csi, Essen, (vor 1043 Tagen) @ Go4Gold

;-)
Suche einmal bei Tante Google nach : Ihr Lenkungsspezialist.
Nochmals, wer an Lenkgetrieben rumfummelt ohne einen Plan zu haben ,
der spielt mit seinem Leben und dem anderer Verkehrsteilnehmer.
Anmerkung:
Radialspiel in der Lenkhebelwelle ,kann man nicht mit dem Nachstellen
an der Einstellschraube beseitigen.
Hier muss eine neue Lagerbuchse eingepresst werden.
Wenn man Pech hat, ist sogar das Öl im Getriebe auf die Jahre gesehen schon
rausgelaufen.
Nur so am Rande erwähnt.:-P

Peter

--
Wer schneller fährt kommt früher an .

M 635 CSi,Erstzulassung Oktober 1984, Alpinweiß 146

650CSi ,BJ .2010 ,Alpinweiß 300.

530i,BJ.2018, Mineralweiß

640i,BJ.2013,Alpinweiß 300

Eintrag gesperrt
444 Views
Avatar

Spiel in der Lenkung - wie viel ist normal?

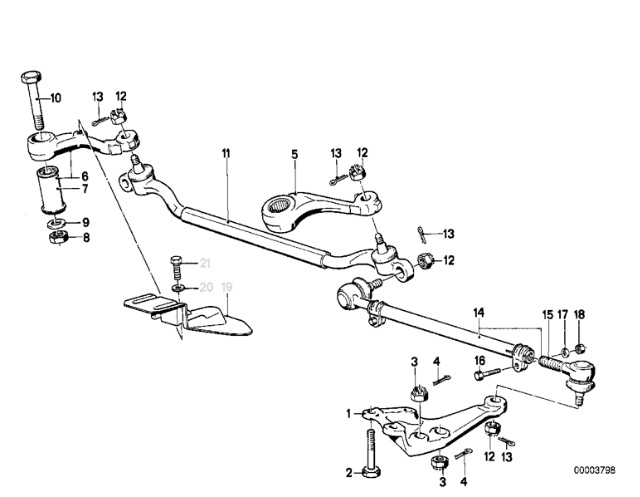
Ulrich 635 CSI, (vor 1045 Tagen) @ Go4Gold

Hallo Daniel

Such mal nach Kugelumlauflenkung nachstellen hier im Forum

Ist die Buchse 7 bei Deinem FZG ok?
Das soll auch ein Kandidat für eine flatternde Lenkung beim Bremsen sein

[image]

Gruß Uli

--
635 CSI, 10/1987

Eintrag gesperrt
469 Views
Avatar

Spiel in der Lenkung - wie viel ist normal?

Marc635, Mettlach, (vor 1044 Tagen) @ Ulrich 635 CSI

Knacken, Flattern und "Spiel" kann doch auch von einem abgerissenen Lenkgetriebehalter kommen oder nicht?!

Hier haben wir doch mal die Verstärkungen von Tom gehabt....und eingebaut;-)

--
Beste Grüße

Marc
635CSi Bj 1/86, Ez. 06/89, Zinnober-Rot, Saarland

Eintrag gesperrt
481 Views

Spiel in der Lenkung - wie viel ist normal?

Go4Gold, München, (vor 1044 Tagen) @ Marc635

Die ist bei mir bereits verbaut ;)

--
635CSI, Bj 85, Schweiz-Import

Eintrag gesperrt
431 Views

Spiel in der Lenkung - wie viel ist normal?

Go4Gold, München, (vor 1044 Tagen) @ Ulrich 635 CSI

Gute Frage, die Buchse kenne ich bislang nicht ;)

Die Beeurteilung ist nehme ich an dann recht eindeutig?

Ich schmeiß nochmal die Suche an bzgl. dem Nachstellen...

--
635CSI, Bj 85, Schweiz-Import

Eintrag gesperrt
447 Views

RSS-Feed dieser Diskussion